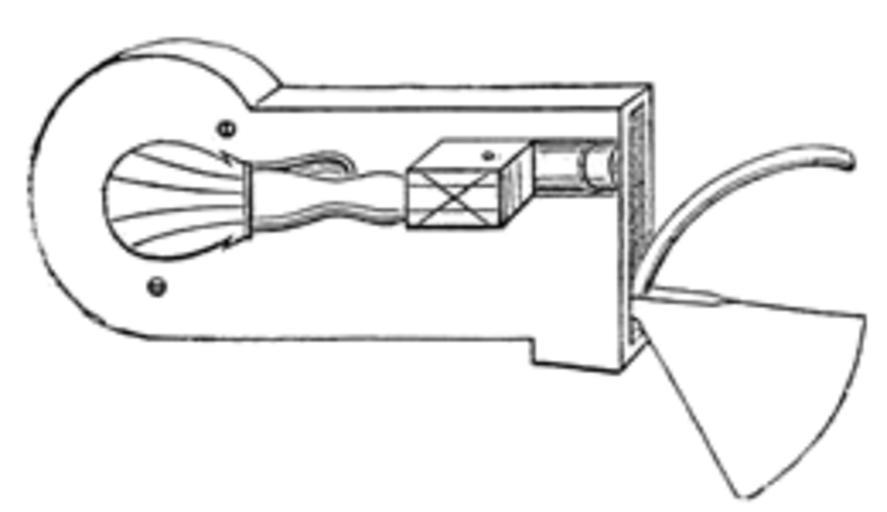
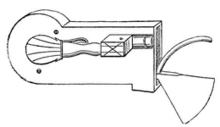
MAKE A MEME View Large Image Meyers b1 s0116 b1.png de Aderlaßschnepper Meyers b1 s0116 jpg ca 1885 author PD-Meyers Bloodletting instruments Images from Meyers Konversationslexikon 4th edition - text figures
View Original:Meyers_b1_s0116_b1.png (260x150)
Download: Original    Medium    Small Thumb
Courtesy of:commons.wikimedia.org More Like This
Keywords: Meyers b1 s0116 b1.png de Aderlaßschnepper Meyers b1 s0116 jpg ca 1885 author PD-Meyers Bloodletting instruments Images from Meyers Konversationslexikon 4th edition - text figures
Terms of Use   Search of the Day