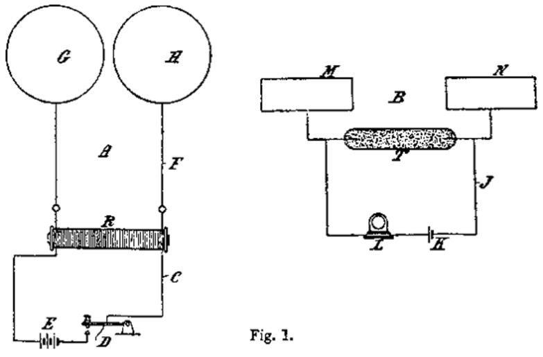
MAKE A MEME View Large Image 1896 Marconi patent.gif en In this diagram A is the transmitting instrument and B is the receiving instrument placed at say ¼ mile apart In the transmitting instrument R is an ordinary induction coil a Ruhmkorff coil or transformer Its ...
View Original:1896_Marconi_patent.gif (582x383)
Download: Original    Medium    Small Thumb
Courtesy of:commons.wikimedia.org More Like This
Keywords: 1896 Marconi patent.gif en In this diagram A is the transmitting instrument and B is the receiving instrument placed at say ¼ mile apart In the transmitting instrument R is an ordinary induction coil a Ruhmkorff coil or transformer Its primary circuit C is connected through a key D to a battery E and the extremities of its secondary circuit F are connected to two insulated spheres or conductors G H fixed at a small distance apart When the current from the battery E is allowed to pass through the primary of the induction coil sparks will take place between the spheres G H and the space all around the spheres suffers a perturbation in consequence of these electrical rays or surgings The arrangement A is commonly called a Hertz radiator and the effects which propagate through space Hertzian rays <br> The receiving instrument B consists of a battery circuit J which includes a battery or cell K a receiving instrument L and a tube T containing metallic powder or filings each end of the column of filings being also connected to plates or conductors M N of suitable size so as to be preferably tuned with the length of wave of the radiation emitted from the transmitting instruments The tube containing the filings may be replaced by an imperfect electrical contact such as two unpolished pieces of metal in light contact or coherer c The powder in the tube T is under ordinary conditions a non-conductor of electricity and the current of the cell K cannot pass through the instrument; but when the receiver is influenced by suitable electrical waves or radiation the powder in the tube T becomes a conductor and remains so until the tube is shaken or tapped and the current passes through the instrument <br> By these means electrical waves which are set up in the transmitting apparatus affect the receiving instrument in such a manner that currents are caused to circulate in the circuit J and may be utilised for deflecting a needle which thus responds to the impulse coming from the transmitter <br> Dans ce schéma A est l'instrument de transmission et B est l'instrument de réception mis à part dire ¼ mile Dans les appareils d'émission R est une bobine d'induction ordinaire une bobine de Ruhmkorff ou transformateur Sa C du circuit primaire est connecté via une clé D à un E de la batterie et les extrémités de ses F circuit secondaire sont connectés à deux sphères isolées ou GH conducteurs fixé à une petite distance Lorsque le courant de la batterie E est autorisé à passer par le primaire de la bobine d'induction des étincelles se tiendra entre les sphères GH et l'espace tout autour de la sphère subit une perturbation à la suite de ces rayons électriques ou surgings Le schéma A est communément appelé un radiateur Hertz et les effets qui se propagent dans l'espace hertzien rayons <br> L'appareil récepteur B se compose d'un circuit de batterie J qui comprend une batterie ou pile K un instrument de réception de L et un tube T contenant de la poudre métallique ou dépôts chaque extrémité de la colonne de dépôts étant également reliés à des plaques ou des conducteurs de MN taille appropriée de manière à être à l'écoute de préférence avec la longueur d'onde du rayonnement émis par les instruments de transmission Le tube contenant les documents peuvent être remplacés par un contact imparfait électriques tels que deux pièces de métal mat en léger contact ou cohéreur c La poudre dans le tube T est dans des conditions normales un non-conducteur de l'électricité et le courant de la cellule K ne peut pas passer à travers l'instrument mais lorsque le récepteur est influencée par appropriés ondes électriques ou de radiations de la poudre dans le tube T devient un chef d'orchestre et le demeure jusqu'à ce que le tube est secoué ou taraudé et le courant passe à travers l'instrument <br> Par ces moyens les ondes électriques qui sont mis en place dans les appareils de transmission affectent l'appareil récepteur de telle manière que les courants sont mis en circulation dans le circuit de J et peut être utilisé pour dévier une aiguille qui répond ainsi à l'impulsion provenant de la émetteur <br> http //www radiomarconi com/marconi/popov/pat763772 html Guglielmo Marconi 1874 - 1937 1896 PD-Old 1896 in radio Guglielmo Marconi Coherers Spark-gap transmitter circuits
Terms of Use   Search of the Day